preloader

Search Here

製品情報

プラリベット®

OTHERS

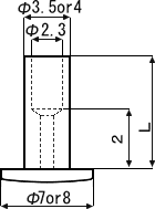
プラスチック製のリベットで、3.5φと4φの2種類があります
リベットの先端がカール状に拡がり、バインダーを表紙に取り付けます
金属製のリベットとは異なり、そのまま焼却が可能なため分別廃棄の必要がありません
 
 
プラリベット
 
 
team-member
Aタイプ
リベットタイプ別サイズ一覧表
   
タイプ Φ
A Φ3.5 3 3.5 4
A Φ4 3 3.5 4

*この一覧表にないサイズもお作りいたします。

team-member
Bタイプ
リベットタイプ別サイズ一覧表
   
タイプ Φ
B Φ3.5 5 5.5 6
B Φ4 5 5.5 6

*この一覧表にないサイズもお作りいたします。

team-member
Cタイプ
リベットタイプ別サイズ一覧表
   
タイプ Φ
C Φ3.5 9
C Φ4 11

*この一覧表にないサイズもお作りいたします。

※お断りなく色調や仕様及び外観を変更することもありますので、ご了承ください。

製品分類